We are building an Intel Xeon W-3400 series system for an upcoming article/ video. In the meantime, we thought our readers might like a look at the motherboard, the ASUS Pro WS W790E SAGE SE. This motherboard is large and has a ton of features onboard so we thought it was worth a quick feature.
ASUS Pro WS W790E SAGE SE Overview
This is a large motherboard. One of the challenges we had planning our build was clearance. The motherboard is 30.5 x 33cm or 12″ x 13″. That is not the largest board we have seen, but not every case out there supports SSI EEB form factor motherboards.

The LGA4677 socket in this motherboard is primarily destined to host the Intel Xeon W-3400 series. The board, however, comes with the carrier for the Xeon W-2400 as well. We think that most folks will use the Xeon W-3400 series with a $1200+ motherboard, but at least that is an option.

On the memory side, we get DDR5-4800 support (on most SKUs.) These systems support up to 8-channel DDR5 ECC RDIMMs and even overclocked XMP RDIMMs. The one caveat is that this is a 1DPC not 2DPC as has become standard on workstations.
There are seven PCIe Gen5 x16 slots. One of these runs at x8 speeds and the rest at x16 when a Xeon W-3400 series is installed. When a W-2400 is installed, then there are only four PCIe Gen5 x16’s active. We explained a bit about how Intel is making the different versions from its Sapphire Rapids base platforms in our New Workstation Kingpins Intel Xeon W-3400 Xeon W-2400 and W790 Launch piece.

One can see the isolated Realtek audio as well as the ASPEED AST2600 BMC next to the PCIe slots.
By far, the strangest part of this system is the M.2 WiFi slot. It is in the middle of the board, but it is empty. It is <$25 to add WiFi 6E to the platform after the fact, but it just feels like on a $1200+ workstation motherboard this should be standard.

The onboard M.2 slots have two to the CPU and one to the W790 chipset. There are still 8x SATA III ports and two SlimSAS ports (PCIe Gen4 x4) for storage, but we expect these M.2 slots to be used often.

Here are the locations of the M.2 SSD slots with the covers removed. ASUS is using its tool-less M.2 SSD retention mechanism which is great.

The next ultra-fun part is that this system has not one, but two sets of ATX 24-pin and dual 8-pin CPU connectors for those that need more power. The covers are on the second set here in the photo below.

Rear I/O is plentiful. There are eight USB ports. Two are USB 2.0 Type A. One is a USB 3.2 Gen 2×2 Type-C. There are five USB 3.2 Gen2 ports with four Type-A and one Type-C. There are five audio jacks, one optical S/PDIF out, and ASUS BIOS FlashBack and clear CMOS buttons.

Primary networking is provided by an Intel X710 dual 10Gbase-T network controller. Since we have the ASPEED AST2600 for management, we even have the VGA port and 1GbE management port. This workstation motherboard has a server management interface.

The back of the motherboard has covers across many of the components. We are not sure why the cover does not span the entire motherboard, but this is a step in the right direction. GPUs with backplates are much easier to handle so it would be great to see on motherboards as well.

This is a motherboard designed for high-end systems.
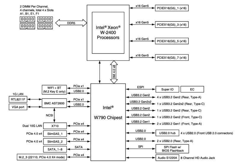
ASUS Pro WS W790E SAGE SE Intel Xeon W-3400 vs W-2400 Block Diagrams
Something notable here is that because the Intel Xeon W-3400 and W-2400 have different PCIe and memory feature sets, the connectivity of the platform is not the same. Here is a look at the ASUS motherboard block diagram with the Intel Xeon W-3400 series installed:

Here is the same platform block diagram with a Xeon W-2400 series CPU:

Although this is a costly platform, one can get a lower core count Xeon w3-2423/ w3-2425 $500-600 CPUs, put them in here, and still get 64 lanes of PCIe Gen5 plus the PCH. That is a massive amount of PCIe bandwidth in the $1800 price range for CPU plus motherboard (with onboard Intel X710 10Gbase-T.)
Final Words
There is a lot going on with the ASUS Pro WS W790E SAGE SE. It has taken some time to get this integrated into a platform including changing coolers, chassis, power supplies, and more. That put the build article/ video a bit behind schedule, but we are planning for it to go-live later this month. In the meantime, we wanted to show our readers the platform in a bit more detail because we know we have readers looking for PCIe bandwidth.




I think some places where such a workstation would fit within budget have security policies that preclude a WiFi radio on the motherboard, even if disabled by software. Since cutting traces would invalidate the warranty and likely still not be compliant, making WiFi an add-on board seems reasonable.
From another point of view I don’t understand the attraction of WiFi for an intrinsically non-portable device anyway.
Does it come with a fire extinguisher?
To me its less about having wifi and more about having bluetooth, at least in a desktop context that is more important to me. Its just that most desktop bluetooth implementations come alongside wifi.
Does anyone know of a case with riser supports for six double slot GPUs?
I suppose I would use the x8 for a fast Infiniband card.
It’d make for a heck of a compute box with six A6000 or six ADA 6000. I have never seen a case the physically supports 6 GPUs on riser platforms though.
@hoohoo mining cases should do the trick, they’re not enclosed though.
@hoohoo my company has developed such an enclosure and we are more than willing to get a full packed system. Shall we get in touch?
Adding on the Wi-Fi card front, most USB Bluetooth adapters suck, so adding a Wi-Fi card for bluetooth is pretty standard affairs. Glad it’s there, wish there was a version that came with it populated already however. Finding antennas can be annoying.
@Gabriele Fronzé what is the name of your company?
@hoohoo the company is Elemento (click here on my name to reach the website!) and we can get in touch at hello(at)elemento(dot)cloud
@hooboo
check out the ANIDEES AI RAIDER XL tower. You can definitely fit 6 GPUs. It has 12 PCI(e) slots. 10 are horizontal and 2 are vertical. With careful planning, you could do it.